JennAir JXL6536HSS0 - Manuel d'utilisation

JennAir JXL6536HSS0 - Manuel d'utilisation, à lire gratuitement en ligne au format PDF. Nous espérons que cela vous aidera à résoudre toutes les questions que vous pourriez avoir. Si vous avez encore des questions, contactez-nous via le formulaire de contact.
2
RANGE HOOD SAFETY
You can be killed or seriously injured if you don't immediately
You
can be killed or seriously injured if you don't follow
All safety messages will tell you what the potential hazard is, tell you how to reduce the chance of injury, and tell you what can
happen if the instructions are not followed.
Your safety and the safety of others are very important.
We have provided many important safety messages in this manual and on your appliance. Always read and obey all safety
messages.
This is the safety alert symbol.
This symbol alerts you to potential hazards that can kill or hurt you and others.
All safety messages will follow the safety alert symbol and either the word “DANGER” or “WARNING.”
These words mean:
follow instructions.
instructions.
DANGER
WARNING
TABLE OF CONTENTS
TABLE DES MATIÈRES
RANGE HOOD SAFETY .................................................................2
INSTALLATION REQUIREMENTS .................................................4
Tools and Parts .............................................................................4
Location Requirements ................................................................4
Venting Requirements ..................................................................5
Electrical Requirements ...............................................................6
INSTALLATION INSTRUCTIONS ...................................................7
Prepare Location ..........................................................................7
Install Hood Liner Internal Blower Motor .....................................8
Install Hood Liner In-Line (External Type) Blower Motor ...........10
Make Electrical Connections for In-Line Blower Motor
System........................................................................................11
Make Electrical Power Supply Connection to Hood Liner ........12
Complete Installation and Check Operation .............................13
RANGE HOOD USE ......................................................................14
Range Hood Controls ................................................................14
RANGE HOOD CARE ...................................................................15
Cleaning .....................................................................................15
WIRING DIAGRAM .......................................................................16
ASSISTANCE OR SERVICE .........................................................17
In the U.S.A. ..............................................................................17
In Canada ...................................................................................17
Accessories ................................................................................17
SÉCURITÉ DE LA HOTTE DE CUISINIÈRE ...............................18
EXIGENCES D’INSTALLATION ...................................................19
Outils et pièces ...........................................................................19
Exigences d’emplacement .........................................................19
Exigences concernant l’évacuation ...........................................21
Spécifications électriques ..........................................................22
INSTRUCTIONS D’INSTALLATION .............................................23
Préparation de l’emplacement ...................................................23
Installation du moteur du ventilateur interne de
la caisse de la hotte ...................................................................24
Installation du moteur du ventilateur en ligne (externe)
de la caisse de la hotte .............................................................26
Réalisation des connexions électriques du système du moteur
du ventilateur en ligne ................................................................27
Réalisation des connexions de l’alimentation électrique à
la caisse de la hotte ...................................................................29
Achever l'installation et vérifier le fonctionnement ....................29
UTILISATION DE LA HOTTE .......................................................30
Commandes et caractéristiques ................................................30
ENTRETIEN DE LA HOTTE .........................................................31
Nettoyage ...................................................................................31
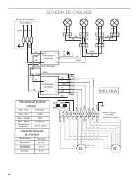
SCHÉMA DE CÂBLAGE ...............................................................32
ASSISTANCE OU SERVICE .........................................................33
Au Canada ..................................................................................33
Accessoires ................................................................................33
„Téléchargement du manuel“ signifie que vous devez attendre que le fichier soit complètement chargé avant de pouvoir le lire en ligne. Certains manuels sont très volumineux, et le temps de chargement dépend de la vitesse de votre connexion Internet.