manuelsdutilisation.com
Toutes les marques
Toutes les catégories
Recherche
Manuels
FORNO
Hottes de cuisine
FRHWM5074-22
FORNO FRHWM5074-22 - Manuels
Hotte de cuisine FORNO FRHWM5074-22 - Manuel d'utilisation en ligne au format PDF.
Manuels:
Manuel d'utilisation
Manuel d'utilisation FORNO FRHWM5074-22
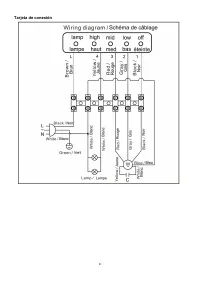
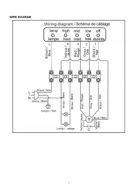
1
2
3
4
5
6
7
8
9
10
11
12
13
14