Page 2 - Your safety and the safety of others are very important.; DANGER
2 TABLE OF CONTENTS COOKTOP SAFETY........................................................................ 2 PARTS AND FEATURES ................................................................ 4 COOKTOP USE .............................................................................. 6 Cooktop Cont...
Page 3 - SÉCURITÉ DE LA TABLE DE CUISSON; AVERTISSEMENT
11 SÉCURITÉ DE LA TABLE DE CUISSON Risque possible de décès ou de blessure grave si vous ne suivez pas immédiatement les instructions. Risque possible de décès ou de blessure grave si vous ne suivez pas les instructions. Tous les messages de sécurité vous diront quel est le danger potentiel et vous ...
Page 4 - MISE EN GARDE –
12 Avertissements de la proposition 65 de l'État de Californie : AVERTISSEMENT : Ce produit contient un produit chimique connu par l’État de Californie pour être à l’origine de cancers. AVERTISSEMENT : Ce produit contient un produit chimique connu par l’État de Californie pour être à l’origine de ma...
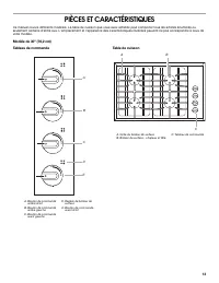
Page 5 - PIÈCES ET CARACTÉRISTIQUES
13 PIÈCES ET CARACTÉRISTIQUES Ce manuel couvre différents modèles. La table de cuisson que vous avez achetée peut comporter tous les articles énumérés ou seulement certains d'entre eux. L'emplacement et l'apparence des caractéristiques illustrées peuvent ne pas correspondre à ceux de votre modèle. M...
Page 7 - UTILISATION DE LA TABLE DE CUISSON; Commandes de la table de cuisson; Brûleurs de surface scellés
15 UTILISATION DE LA TABLE DE CUISSON Commandes de la table de cuisson Les allumeurs électriques allument automatiquement les brûleurs de surface lorsque les boutons de commande sont tournés à HI et se rallument automatiquement si la flamme s'éteint. Un éventuel courant d'air peut affecter la flamme...
Page 8 - Préparation de conserves à la maison; Ustensiles de cuisson
16 Orifices de brûleur : Examiner occasionnellement les flammes des brûleurs pour en vérifier la taille et la forme tel qu'indiqué ci-dessus. Une bonne flamme est bleue plutôt que jaune. Garder cette zone exempte de souillures et ne pas laisser les produits renversés, les aliments, les agents de net...
Page 9 - ENTRETIEN DE LA TABLE DE CUISSON; Nettoyage général
17 ENTRETIEN DE LA TABLE DE CUISSON Nettoyage général IMPORTANT : Avant le nettoyage, s'assurer que toutes les commandes sont désactivées et que la table de cuisson a refroid. Toujours suivre les instructions sur les étiquettes des produits de nettoyage. Du savon, de l'eau et un chiffon doux ou une ...
Page 10 - DÉPANNAGE
18 DÉPANNAGE Essayer les solutions suggérées ici d'abord afin d'éviter le coût d'une visite de service non nécessaire. Rien ne fonctionne ■ Le cordon d'alimentation est-il débranché?Brancher l'appareil sur une prise à 3 alvéoles reliée à la terre. ■ Un fusible est-il grillé ou le disjoncteur s'est-i...
Page 11 - ASSISTANCE OU SERVICE; Accessoires; GARANTIE DES GROS APPAREILS MÉNAGERS
19 ASSISTANCE OU SERVICE Avant de faire un appel pour assistance ou service, consulter la section “Dépannage”. Ce guide peut vous faire économiser le coût d’une visite de service. Si vous avez encore besoin d’aide, suivre les instructions ci-dessous. Lors d’un appel, veuillez connaître la date d’ach...