Miele APCL 041 - Manuels
Notice d'Installation Miele APCL 041



















































































Résumé
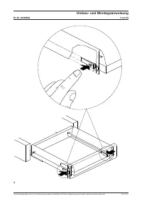
Umbau- und Montageanweisung M.-Nr. 09469886 45 von 83 Diese Unterlagen dürfen ohne unsere Genehmigung weder vervielfältigt noch Dritten zugänglich gemacht werden. Eigentumsrechte vorbehalten. 26.02.2021 A Taita liitoskappaleet auki. A Sovita liitoskappaleiden aukko jalustan jalan ympärille, mutta äl...
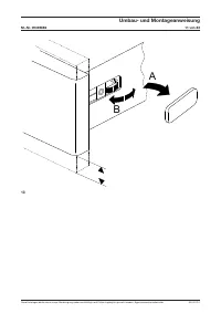
Umbau- und Montageanweisung M.-Nr. 09469886 47 von 83 Diese Unterlagen dürfen ohne unsere Genehmigung weder vervielfältigt noch Dritten zugänglich gemacht werden. Eigentumsrechte vorbehalten. 26.02.2021 A Visser à fond les pieds du sèche-linge à l'aide d'une clé à molette. A Dévisser les tiges filet...
Umbau- und Montageanweisung M.-Nr. 09469886 48 von 83 Diese Unterlagen dürfen ohne unsere Genehmigung weder vervielfältigt noch Dritten zugänglich gemacht werden. Eigentumsrechte vorbehalten. 26.02.2021 A Serrer les boulons avec une clé à fourche depuis le côté intérieur du socle. Serrer uniformémen...
Other Miele Autres Manuals
-
Miele APWM 066 Notice d'Installation
-
Miele APWM 062 Notice d'Installation
-
Miele APWM 065 Notice d'Installation
-
Miele APWM 020 Manuel d'utilisation
-
Miele APWM 020 Notice d'Installation
-
Miele SC Notice d'Installation
-
Miele PR Notice d'Installation
-
Miele FP 900 Notice d'Installation
-
Miele RP 900 Notice d'Installation
-
Miele APWM 019 Manuel d'utilisation
-
Miele APWM 019 Notice d'Installation
-
Miele A 830/1 Manuel d'utilisation
-
Miele TT 86 Manuel d'utilisation
-
Miele RP 1150 Notice d'Installation
-
Miele UG 5010 Notice d'Installation
-
Miele UO 5010 Notice d'Installation
-
Miele APCL 001 Notice d'Installation
-
Miele E 473/2 Manuel d'utilisation
-
Miele APRI 312 Notice d'Installation
-
Miele DOS K 85 flex Notice d'Installation