Page 2 - Table des matières
Table des matières 2 Consignes de sécurité et mises en garde ....................................................... 4 Votre contribution à la protection de l'environnement .................................. 12 Description du fonctionnement ..............................................................
Page 3 - Déshumidification
Table des matières 3 Déshumidification ............................................................................................. 30 Fonction de déshumidification ............................................................................ 30 Remplacer le filtre de déshumidification ................
Page 4 - Consignes de sécurité et mises en garde; Utilisation conforme; Cette hotte est destinée à un usage domestique ou à des condi-
Consignes de sécurité et mises en garde 4 Cette hotte répond aux réglementations de sécurité en vigueur.Toute utilisation non conforme peut toutefois causer des dom-mages corporels et matériels. Lisez attentivement le mode d’emploi et les instructions de mon-tage avant de mettre la hotte en service....
Page 5 - Précautions à prendre avec les enfants
Consignes de sécurité et mises en garde 5 Précautions à prendre avec les enfants Tenez les enfants de moins de huit ans éloignés de la hotte à moins qu'ils ne soient sous étroite surveillance. Les enfants âgés de huit ans et plus peuvent utiliser la hotte sans surveillance uniquement si son fonc...
Page 6 - Sécurité technique; Tout dommage sur la hotte peut mettre votre sécurité en danger.
Consignes de sécurité et mises en garde 6 Sécurité technique Des travaux d'installation, d'entretien ou de réparation non conformes peuvent entraîner de graves dangers pour l'utilisateur.Ces interventions doivent être exécutées exclusivement par des pro-fessionnels agréés par Miele. Tout dommage...
Page 9 - la peau
Consignes de sécurité et mises en garde 9 Conseils d'utilisation du flacon de parfum (en option) Seul un flacon de parfum d'origine Miele peut être utilisé, prévu pour une utilisation dans la hotte. Conservez toujours le flacon de parfum dans son emballage. Ne jetez pas l'emballage. Attention,...
Page 10 - Installation conforme
Consignes de sécurité et mises en garde 10 Installation conforme Observez les indications du fabricant de votre appareil de cuisson pour savoir si le fonctionnement en combinaison avec une hotte estautorisé. Ne montez pas la hotte au-dessus de foyers fonctionnant aux combustibles solides. Ne m...
Page 11 - Les filtres à charbon actif ne doivent pas être lavés au lave-vais-; Accessoires et pièces détachées; d'autres pièces exclut tout bénéfice de la garantie.
Consignes de sécurité et mises en garde 11 Les filtres à charbon actif ne doivent pas être lavés au lave-vais- selle !Les résidus de produit nettoyant peuvent prendre feu à haute tempé-rature lors de la régénération dans le four.Respectez les instructions de ce mode d’emploi pour régénérer lesfilt...
Page 12 - Votre contribution à la protection de l'environnement; Recyclage de l’emballage
Votre contribution à la protection de l'environnement 12 Recyclage de l’emballage Nos emballages protègent votre appa-reil des dommages qui peuvent survenirpendant le transport. Nous les sélec-tionnons en fonction de critères écolo-giques permettant d'en faciliter le recy-clage. En participant au re...
Page 13 - Description du fonctionnement; Mode recyclage
Description du fonctionnement 13 Mode recyclage La hotte est prévue pour fonctionner enmode recyclage uniquement. L’air aspiré est filtré par le filtre àgraisses puis par un filtre de déshumidi-fication. Il est ensuite réintroduit dans la cuisinepar un filtre à charbon actif situé sur ledessus de la...
Page 16 - Première mise en service; Retirez le filtre à graisses.
Première mise en service 16 Les réglages décrits dans ce chapitres'effectuent sur le bandeau de com-mande de la hotte. Le bandeau decommande se trouve à l'arrière du filtreà graisses. Retirez le filtre à graisses. Activer Miele@home Conditions préalables : - un réseau Wi-Fi - l'App Miele - un comp...
Page 17 - Connexion via l'application
Première mise en service 17 Connexion via l'application Vous pouvez créer une connexion ré-seau avec l'App Miele. Installez l'App Miele sur votre terminalmobile. Pour la connexion, vous avez besoin : 1. du mot de passe de votre réseau Wi- Fi, 2. le mot de passe de la hotte Le mot de passe de la ho...
Page 18 - Connexion par WPS
Première mise en service 18 Connexion par WPS Votre routeur Wi-Fi doit pouvoir gérerle protocole WPS (WiFi Protected Se-tup). Arrêtez la hotte. Maintenez la touche « » enfoncée. Appuyez simultanément sur la touched'éclairage . 2 brille en continu, 3 clignote. Vous devez activer la conne...
Page 20 - Conditions préalables :
Première mise en service 20 Activer Con@ctivity La fonction Con@ctivity correspond àune méthode de communication directeentre une table de cuisson électriqueMiele et une hotte Miele. Elle permet decommander automatiquement la hotteen fonction de l'état de fonctionnementde la table de cuisson électri...
Page 21 - Renouveler la connexion
Première mise en service 21 Con@ctivity : connexion directe parondes Wi-Fi (Con@ctivity 3.0) Conditions préalables : - Table de cuisson Miele compatible Wi-Fi Si vous ne disposez pas d'un réseau lo-cal, vous pouvez établir une connexiondirecte entre votre table de cuisson etvotre hotte. Désactivez...
Page 22 - Utilisation en mode automatique; pidement à la puissance; Temps de réaction
Utilisation en mode automatique 22 Lorsque la fonction Con@ctivity estactivée, la hotte fonctionne toujoursen mode automatique (voir chapitre« Première mise en service », section« Activer Con@ctivity »). Si vous souhaitez utiliser la hotte enmode manuel, consultez le chapitre« Utilisation (mode manu...
Page 23 - Cuisson des viandes; - Le moteur bascule aussitôt du niveau
Utilisation en mode automatique 23 Cuisson des viandes Allumez une zone de cuisson sur leniveau de puissance le plus élevé,par exemple pour faire chauffer le ré-cipient de cuisson avant de faire re-venir des aliments. Repassez sur unniveau de puissance plus faible dansun laps de temps compris entr...
Page 24 - arrêtez la hotte manuellement,
Utilisation en mode automatique 24 Interrompre momentanémentle mode automatique Vous pouvez quitter le mode automa-tique momentanément pendant la cuis-son si vous : sélectionnez une autre puissance ma-nuellement, arrêtez la hotte manuellement, ou activez la fonction Arrêt différé de la hott...
Page 25 - Utilisation en mode manuel; - vous avez désactivé provisoirement; Sélectionner l'arrêt différé
Utilisation en mode manuel 25 Cuisiner sans fonctionCon@ctivity (mode manuel) La hotte peut être utilisée manuellementaux conditions suivantes : - la fonction Con@ctivity ne doit pas être activée, - vous avez désactivé provisoirement la fonction Con@ctivity (voir chapitre« Utilisation (mode automati...
Page 26 - Powermanagement; - Si le niveau de puissance de la hotte; Arrêt de sécurité; rage; Éclairage d'ambiance
Utilisation en mode manuel 26 Powermanagement La hotte dispose d'un système de ges-tion de l'énergie Powermanagement. LePowerManagement sert à économiserl'énergie. Le moteur réduit ainsi auto-matiquement sa puissance d'aspirationet l'éclairage se désactive. - Si le niveau Booster est activé, le mo- ...
Page 28 - Modifier les réglages
Modifier les réglages 28 Vous pouvez modifier les réglages de lahotte à l'aide des touches de la hotte. Les réglages décrits dans ce chapitrene peuvent pas être modifiés via l'AppMiele. Retirez le filtre à graisses. Modifier le témoin de satura-tion des filtres à graisses Vous pouvez régler le tém...
Page 30 - Fonction de déshumidification; - Vous pouvez modifier la période de
Déshumidification 30 Fonction de déshumidification Le filtre de déshumidification élimineune partie de l'humidité des fumées decuisson pendant la cuisson. Après lacuisson, le filtre de déshumidificationest séché par un processus contrôlépar capteur. L'humidité recueillie est re-lâchée dans l'air amb...
Page 31 - Diffusion de parfum; Risque pour la santé et risque
Diffusion de parfum 31 Fonction de diffusion de par-fum Le flacon de parfum émet un parfumdans la pièce indépendamment dufonctionnement de la hotte. Vous pouvez utiliser l'applicationMiele@mobile pour contrôler les fonc-tions suivantes. Vous pouvez déclencher une seule dif-fusion de parfum ou progra...
Page 32 - Ouvrir le nouveau flacon de parfum
Diffusion de parfum 32 Stockage intermédiaire du flacon deparfum Si vous souhaitez stocker temporaire-ment un flacon de parfum qui n'a pasencore été utilisé, utilisez l'emballagede vente. Du parfum peut s'écouler.Ne tenez pas le flacon de parfum ou-vert en biais, ne l'inclinez pas et ne leplacez pas...
Page 33 - Nettoyage et entretien; Carrosserie; Généralités; Filtre à graisses
Nettoyage et entretien 33 Débranchez la hotte avant toute maintenance ou tout entretien (voirchapitre « Consignes de sécurité etmises en garde »). Carrosserie Généralités Les surfaces et les éléments decommande peuvent être endomma-gés par des produits de lavage inap-propriés.N'utilisez pas de dét...
Page 34 - Fréquence de nettoyage
Nettoyage et entretien 34 Fréquence de nettoyage La graisse accumulée se solidifie aubout d'un certain temps et rend le net-toyage du filtre difficile. Il est donc re-commandé de nettoyer le filtre àgraisses toutes les 3 à 4 semaines. Le compteur d'heures de fonctionne-ment vous rappelle que le filt...
Page 35 - Après le nettoyage
Nettoyage et entretien 35 Nettoyage du filtre à graisses aulave-vaisselle Placez le filtre à graisse à plat ou lé-gèrement incliné dans le panier supé-rieur ou inférieur. Vérifiez que le brasde lavage peut tourner. Utilisez un produit de lavage compa-rable à celui que l'on trouve dans lecommerce...
Page 36 - Filtres à charbon actif; Fréquence de régénération
Nettoyage et entretien 36 Filtres à charbon actif Un filtre à charbon actif retient lesodeurs produites pendant la cuisson. Ils'utilise en complément du filtre àgraisse. On installe le filtre à charbon actif dansla partie supérieure de la hotte. Le filtre à charbon actif peut être utiliséà plusieurs...
Page 37 - avant
Nettoyage et entretien 37 Des odeurs peuvent survenir pen-dant la régénération.La régénération doit être réaliséedans des pièces bien aérées. Ouvrezle cas échéant une fenêtre. La durée de régénération est de60 minutes. Arrêtez ensuite le four oula fonction four. Risque de brûlures ! Vous pouvez ...
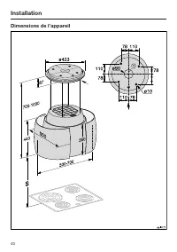
Page 39 - Installation; Avant le montage; Avant de procéder au montage,; Schéma de montage
Installation *INSTALLATION* 39 Avant le montage Avant de procéder au montage, veuillez lire les informations du pré-sent chapitre et des « Consignes desécurité et mises en garde ». Schéma de montage Les différentes opérations de montagesont décrites dans le schéma de mon-tage fourni.
Page 41 - Distance entre la table de cuisson et la hotte (S)
Installation *INSTALLATION* 41 a Mise en place d’un câble d’alimentation Distance entre la table de cuisson et la hotte (S) Risque de dommages provoqués par la chaleur. La chaleur émanant d’une table de cuisson au gaz peut endommager la hotte.Il est interdit de monter la hotte au-dessus d’une tabl...
Page 42 - Conseils de montage; - Une distance de 650 mm minimum; Branchement électrique; Des dangers considérables
Installation *INSTALLATION* 42 Conseils de montage - Une distance de 650 mm minimum est recommandée pour faciliter le tra-vail sous la hotte même au-dessusdes tables de cuisson électriques. - Lorsque vous choisissez la hauteur de montage, tenez compte de la tailledes utilisateurs. Vous devez pouvoir...
Page 44 - Caractéristiques techniques; Disponible en option pour fonctionnement en mode recyclage
Caractéristiques techniques 44 Moteur de ventilateur 105 W Éclairage de la table de cuisson 10 W Éclairage d'ambiance 15,4 W Puissance totale de raccordement 130,4 W Tension réseau, fréquence AC 230 V, 50 Hz Fusible 10 A Poids 24,6 kg Module Wi-Fi Bande de fréquence 2,400 – 2,4835 GHz Puissance d’ém...
Page 45 - Fiche relative aux hottes domestiques
Caractéristiques techniques 45 Fiche relative aux hottes domestiques selon règlement délégué (UE) N° 65/2014 et règlement (UE) N°66/2014 MIELE Identification du modèle DA 7378 D Aura4.0 Ambient Consommation énergétique annuelle (AEC hotte ) 31,6 kWh par an Classe d’efficacité énergétique A+ Indice d...
Page 47 - Miele Experience Center Nice
9 avenue Albert Einstein - Z. I. du Coudray R.C.S. Bobigny B 708 203 088 55 Boulevard Malesherbes75008 Paris 30 rue du Bac75007 Paris Secteur Cap 3000285 avenue de Verdun06700 Saint-Laurent du Var MIELE FranceSiège social 93151 - Le Blanc-Mesnil CEDEX Miele Experience CenterParis Rive Gauche Miele E...