Miele KMDA 7473 FR-U Silence - Manuels

Miele KMDA 7473 FR-U Silence - Manuel d'utilisation en ligne au format PDF.
Manuels:
Manuel d'utilisation Miele KMDA 7473 FR-U Silence




















































































































Résumé
Table des matières 2 Consignes de sécurité et mises en garde ....................................................... 5 Votre contribution à la protection de l'environnement .................................. 19 Description de l'appareil ..................................................................
Table des matières 4 Cotes d'encastrement – standard ....................................................................... 85 KMDA 7473 FR-A, KMDA 7473 FR-U ............................................................ 85KMDA 7473 FL-A, KMDA 7473 FL-U...................................................
Consignes de sécurité et mises en garde 5 Cet appareil est conforme aux dispositions de sécurité en vigueur.Toute utilisation non conforme peut toutefois causer des dom-mages corporels et matériels. Lisez attentivement le mode d’emploi et les instructions de mon-tage avant de mettre la table de cuis...
Consignes de sécurité et mises en garde 6 Utilisation conforme Cette table de cuisson est destinée à un usage domestique ou dans des conditions d'utilisation semblables au cadre domestique. Cette table de cuisson ne convient pas à une utilisation en exté- rieur. Utilisez la table de cuisson ex...
Consignes de sécurité et mises en garde 7 Précautions à prendre avec les enfants Tenez les enfants de moins de huit ans éloignés de la table de cuisson à moins qu'ils ne soient sous étroite surveillance. Les enfants âgés de huit ans et plus peuvent uniquement utiliser l'appareil sans surveillanc...
Consignes de sécurité et mises en garde 8 Sécurité technique Des travaux d'installation, d'entretien ou de réparation non conformes peuvent entraîner de graves dangers pour l'utilisateur.Ces interventions doivent être exécutées exclusivement par des pro-fessionnels agréés par Miele. Une table de...
Consignes de sécurité et mises en garde 10 Avant toute installation, maintenance ou réparation, commencez par débrancher votre table de cuisson du secteur électrique. Pourvous assurer que l'appareil est débranché du secteur électrique, pro-cédez comme ceci : - déclenchez le fusible de l'installati...
Consignes de sécurité et mises en garde 11 Utilisation simultanée de la hotte et d'un foyer Risque d'intoxication lié aux gaz de combustion ! En cas d'utilisation simultanée d'une hotte et d'un foyer dans lamême pièce ou le même ensemble d'aération, la prudence est derigueur.On considère comme foy...
Consignes de sécurité et mises en garde 18 Nettoyage et entretien La vapeur d'un nettoyeur vapeur pourrait parvenir sur des compo- sants conducteurs et provoquer un court-circuit.N'utilisez surtout pas de nettoyeur vapeur pour nettoyer la table decuisson. Si votre table de cuisson a été encastré...
Votre contribution à la protection de l'environnement 19 Recyclage de l’emballage Nos emballages protègent votre appa-reil des dommages qui peuvent survenirpendant le transport. Nous les sélec-tionnons en fonction de critères écolo-giques permettant d'en faciliter le recy-clage. En participant au re...
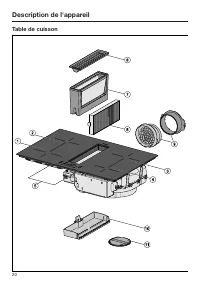
Description de l'appareil 22 Eléments de commande et d'affichage f d c a b m n o l j k i h g e a Touche sensitive de la table de cuisson Marche/Arrêt b Touche sensitive des zones de cuisson Flexpour connecter/déconnecter manuellement les zones de cuisson Flex c Touche sensitive Maintien au chaudpour...
Description de l'appareil 24 Caractéristiques de la zone de cuisson Zone de cuisson Taille en cm Puissance max. en watts à 230 V 3 Zone de cuisson couplée 4 Ø 1 2 11–21 21x21 normaleBooster 2 1003 000 11–21 21x21 normaleBooster 2 1003 000 11–21 21x21 normaleBooster 2 1003 000 11–21 2...
Description de l'appareil 25 Accessoires fournis Pour commander les accessoires desérie ou en option, veuillez vous repor-ter au chapitre « Accessoires en op-tion ». Gabarit de perçage Gabarit imprimé sur les deux faces pourcréer la découpe du conduit d'air ou del'adaptateur Plug&Play. Filtres à...
Première mise en service 26 Veuillez coller la plaque signalétiquejointe aux documents accompagnantvotre appareil à l'emplacement prévuà cet effet sous « Service après-vente ». Enlevez les éventuels autocollants etfilms de protection. Premier nettoyage de la tablede cuisson Avant la première u...
Première mise en service 27 Miele@home Condition préalable : réseau Wi-Fi do-mestique Votre table de cuisson est équipée d'unmodule Wi-Fi intégré. Elle peut êtreconnectée à votre réseau Wi-Fi. Assurez-vous que le signal de votreréseau Wi-Fi est suffisamment fortsur le lieu d'installation de votre ta...
Première mise en service 28 Activer Miele@home Connexion via l’app Il est possible de créer une connexionréseau avec l’app Miele. Pour la connexion, il faut : 1. Le mot de passe du réseau Wi-Fi. 2. Le mot de passe de la table de cuisson. Le mot de passe de la table de cuissoncorrespond aux neuf dern...
Première mise en service 29 Annuler le processus Effleurez la touche sensitive . Réinitialiser les paramètres Lors du remplacement du routeur, laréinitialisation n’est pas nécessaire. Allumez la table de cuisson. Effleurez un affichage des zones decuisson quelconque. Pressez simultanément...
Principe de fonctionnement 30 Zones de cuisson Une bobine à induction est placée souschaque zone de cuisson. Cette bobineproduit un champ magnétique qui agitdirectement sur le fond du récipient etle réchauffe. La chaleur dégagée par lefond du récipient réchauffe ensuite indi-rectement la zone de cui...
Principe de fonctionnement 31 Gestion de la puissance La table de cuisson a une puissance to-tale maximale qui ne peut être dépas-sée pour des raisons de sécurité. Vouspouvez réduire la puissance totalemaximale, voir chapitre « Programma-tion ». 2 zones de cuisson peuvent être cou-plées entre elles ...
Principe de fonctionnement 32 Évacuation des buées L'évacuation d'air aspirée doit être in-troduit uniquement en mode Plug&Playdirectement via le meuble bas. Mode d'évacuation d'air L'air aspiré est épuré par le filtre àgraisse et il est acheminé hors du bâti-ment, par le conduit d'évacuation d'...
Récipients de cuisson 33 Récipients de cuisson adaptés - inox à fond magnétique, - acier émaillé, - fonte La qualité du fond de la casserole/poêlepeut influer sur l'homogénéité de lacuisson (lorsque vous souhaitez brunirune crêpe, par exemple). Le fond du ré-cipient doit répartir uniformément lachal...
Récipients de cuisson 34 Conseils - Pour utiliser la zone de cuisson de manière optimale, choisissez un réci-pient dont le diamètre correspond(voir chapitre « Description de l'ap-pareil », section « Informations sur leszones de cuisson »). Si la casseroleest trop petite, celle-ci n'est pas dé-tectée...
Niveaux de puissance 36 En usine, 9 niveaux de puissance sont programmés sur la table de cuisson. Sivous souhaitez une gradation plus fine, vous pouvez l'élargir à 17 niveaux de puis-sance (voir chapitre « Programmation »). Plage de réglage à l'usine (9 niveaux) étendue (17 niveaux) Faire fondre du ...
Utilisation 37 Principe de commande Votre table de cuisson en vitrocéra-mique est équipée de touches sensi-tives électroniques qui réagissent aucontact du doigt. Pour des raisons desécurité, il faut appuyer plus longtempssur la touche sensitive Marche / Ar-rêt que sur les autres touches, lors de ...
Utilisation 38 Risque d'incendie par suite de surchauffe.Les aliments qui ne sont pas sur-veillés en cours de cuisson risquentde trop chauffer et de s'enflammer.Ne laissez pas l'appareil sans sur-veillance pendant qu'il fonctionne. Tenez compte du fait qu'une table decuisson à induction chauffe be...
Utilisation 39 Indicateur de chaleur rési-duelle Si une zone de cuisson est chaude, letémoin de chaleur résiduelle s'allumeune fois la zone arrêtée. Les barres indiquant le témoin de cha-leur résiduelle s'éteignent l'une aprèsl'autre au fur et à mesure que les zonesde cuisson refroidissent. Le derni...
Utilisation 40 Zone de cuisson Flex Les zones de cuisson Flex sont auto-matiquement réunies en un espace decuisson PowerFlex, si vous positionnezun récipient assez grand (voir chapitre« Description de l'appareil », section« Table de cuisson »). Vous pouvez aus-si interconnecter ou séparer manuelle-m...
Utilisation 41 Début de cuisson automatique Quand la fonction « Début de cuissonautomatique » est activée, la zone decuisson atteint très vite sa puissancemaximale (phase de saisie) pour redes-cendre ensuite à la puissance sélection-née (phase de poursuite de cuisson). Letemps de saisie dépend de la...
Utilisation 42 Booster Le Booster augmente la puissance decuisson pour chauffer rapidement lesgros volumes. Il permet par exemple defaire bouillir plus rapidement l'eau despâtes . Ce renforcement de puissancereste actif pendant 5 minutes au maxi-mum. Lorsque le booster est activé, le para-mètre de l...
Utilisation 43 Fonction maintien au chaud La fonction de maintien au chaud sertà maintenir la température des platschauds juste après leur préparation,mais pas pour réchauffer des platsfroids. La durée maximum de maintien auchaud est de 2 heures. - Pendant leur maintien au chaud, cou- vrez vos plats...
Utilisation 44 Évacuation des buées La hotte s'active automatiquement si unrécipient se trouve sur la zone de cuis-son et qu'un niveau de puissance estréglé pour la zone de cuisson (Con@cti-vity). Le niveau de puissance de la hottedépend du niveau de puissance de lazone de cuisson. La durée et l'int...
Timer 46 Pour utiliser le minuteur, activez latable de cuisson. Le minuteur peut être utilisé pour2 fonctions : - régler la minuterie - et d'enclencher l'arrêt automatique d'une zone de cuisson Vous pouvez utiliser les fonctions simul-tanément. Il est possible de régler une durée com-prise entre 1 m...
Timer 47 Arrêt automatique Il est possible de choisir au bout decombien de temps une zone de cuissondoit s’arrêter automatiquement. Cettefonction peut être utilisée simultané-ment pour toutes les zones de cuisson. Si la durée que vous avez sélection-née est supérieure au temps maximalde fonctionneme...
Timer 48 Utilisation simultanée des deuxfonctions du minuteur (Timer) Si vous utilisez les deux fonctions enmême temps, le temps de la dernièrefonction sélectionnée est toujours affi-ché. Pour consulter les temps restants quis'écoulent en arrière-plan, effleurez latouche sensitive ou l'affichag...
Fonctions supplémentaires 49 Stop&Go Lors de l'activation de Stop&Go, les ni-veaux de puissance de toutes les zonesde cuisson activées sont réduits à 1. Leniveau de puissance de la hotte n'estpas réduit ou peut même être augmentéen fonction du niveau de puissance ré-glé des zones de cuisson....
Fonctions supplémentaires 50 Protection nettoyage La protection nettoyage permet debloquer les touches sensitives de latable de cuisson pendant 20 secondespour retirer les salissures. La touchesensitive n'est pas verrouillée. Activer Effleurez la touche sensitive . Effleurez la touche sens...
Dispositifs de sécurité 52 Verrouillage de la mise enmarche/Verrouillage Le verrouillage est désactivé en casde panne de courant. Votre table de cuisson est équipée d'undispositif de verrouillage et d'une sécu-rité enfants qui empêchent tout enclen-chement intempestif de la table de cuis-son / des z...
Dispositifs de sécurité 53 Activer le verrouillage de la mise enmarche Effleurez la touche sensitive pen- dant 6 secondes. Les secondes sont décomptées dansl'affichage du minuteur (Timer). Une foisle temps écoulé, apparaît dans l’af- fichage du minuteur. Le verrouillage dela mise en marche ...
Dispositifs de sécurité 54 Sécurité oubli Touches sensitives recouvertes Dès que quelque chose, ne serait-cequ'un doigt ou un aliment qui déborde,recouvre une touche sensitive pendantplus de 10 secondes, la table de cuis-son s'arrête instantanément. clignote brièvement dans l’affichage du minu-teu...
Dispositifs de sécurité 55 Sécurité anti-surchauffe Les bobines d’induction et les dissipa-teurs thermiques du système électro-nique sont équipés d’une sécurité anti-surchauffe. Cette dernière appliquel'une des mesures suivantes avant queces éléments ne soient en surchauffe : Bobines d’induction - L...
Programmation 56 Vous pouvez adapter la programmationde la table de cuisson à vos besoins.Vous pouvez modifier les réglages lesuns après les autres. Une fois la programmation activée, ap-paraît la touche sensitive + et dans l'affichage du minuteur (Timer). Au boutde quelques secondes, : (pro-...
Données à l'attention des instituts de contrôle 60 Plats tests selon EN 60350-2 En usine, 9 niveaux de puissance sont programmés. Réglez l'extension des niveaux de puissance pour effectuer les contrôles selon lanorme (voir chapitre « Programmation »). Plat test Fond du récipient de cuisson (mm) Co...
Nettoyage et entretien 61 Risque de brûlure à cause de zones de cuisson chaudes.Les zones de cuisson restent trèschaudes après la cuisson.Éteignez la table de cuisson.Laissez refroidir les zones de cuissonavant de nettoyer la table de cuis-son. Risque de blessure provoqué par le moteur du ventil...
Nettoyage et entretien 62 Nettoyer la surface vitrocéra-mique Dommages causés par des ob- jets pointus.La bande d'étanchéité entre la tablede cuisson et le plan de travail peutêtre endommagée.La bande d'étanchéité entre la vitro-céramique et le cadre peut être en-dommagée.N'utilisez pas d'objets p...
Nettoyage et entretien 63 Grille de recouvrement/filtre àgraisse/filtre à charbon actif La grille de recouvrement et le filtre àgraisses en métal réutilisable dans lahotte retient les éléments solides desvapeurs de cuisine (graisses, pous-sière...) et empêche l'encrassement dudomino hotte. La graiss...
Nettoyage et entretien 64 Nettoyer le filtre à graisses Retirer les filtres à graisse Retirez la grille de recouvrement. Retirez le filtre à graisses avec pré-caution à l'aide des creux de poignée(1). Veillez à ce que le filtre à graissene bascule pas. Videz le liquide recueilli du fond dufilt...
Nettoyage et entretien 65 Remplacer le filtre à charbon actif(uniquementKMDA 7473 FR-U, KMDA 7473 FL-U) Le filtre à charbon actif doit être rempla-cé après 120 heures de fonctionne-ment. La touche sensitive apparaît. Vous trouverez la désignation du filtre àcharbon actif dans le chapitre « Acces-...
Nettoyage et entretien 66 Nettoyer l'intérieur de l'unitéde ventilation Nettoyez l'intérieur de l'unité de ventila-tion, si des liquides ont pénétré dans lahotte intégrée lors de débordement oude renversement. Nettoyez le bac collecteur de la hotte. Placez un récipient sous la trappe denettoyage...
En cas d'anomalie 67 Vous pouvez régler la plupart des défauts ou anomalies courants par vous-même.Dans bon nombre de cas, vous économiserez ainsi du temps et de l'argent carvous n'aurez pas besoin de faire appel au service après-vente. Sur www.miele.com/service, vous trouverez des informations sur ...
En cas d'anomalie 69 Comportement inattendu Problème Cause et solution Le niveau de puissance9 est automatiquementréduit si vous réglezégalement le niveau depuissance 9 pour lazone de cuissonconnectée. En fonctionnant simultanément au niveau de puis-sance 9, la puissance totale possible est dépassée...
En cas d'anomalie 70 Résultat insatisfaisant Problème Cause et solution La fonction Début decuisson automatiqueest enclenchée mais lecontenu de la casserolene cuit pas. De grandes quantités d'aliments sont en train de ré-chauffer. Augmentez le niveau de puissance au maximumpuis réduisez-le de nouv...
Accessoires en option 73 Miele propose une large gamme d'ac-cessoires Miele parfaitement adaptés àl'entretien et au nettoyage de vos appa-reils. Pour les commander, il vous suffit devous rendre sur la boutique en ligneMiele. Ils sont également disponibles auprèsdu service après-vente Miele (voir la ...
Installation *INSTALLATION* 74 Consignes de sécurité pour le montage Dommages liés à un montage incorrect. La table de cuisson peut être endommagée en raison d'un montage incorrect.Faites installer la table de cuisson uniquement par un technicien qualifié. Risque d’électrocution lié à la tension...
Installation *INSTALLATION* 75 Respectez les distances de sécurité indiquées sur les pages sui- vantes. N'utilisez que des tubes ou flexibles en matériau ininflammable pour raccorder l'évacuation d'air. Ceux-ci sont disponibles dans lesmagasins spécialisés ou auprès du service après-vente Miele....
Installation *INSTALLATION* 76 Distances de sécurité Distance de sécurité au-dessus de latable de cuisson La distance de sécurité entre la table decuisson et la hotte prescrite par le fabri-cant de la hotte doit être respectée. Si des matériaux facilement inflam-mables sont montés (portique, parexem...
Installation *INSTALLATION* 77 Distance de sécurité latérale / arrière La table de cuisson doit être installéede préférence avec assez de place àdroite et à gauche. A l'arrière de la table de cuisson, il fautrespecter la distance minimale indiquéeci-dessous par rapport à un meuble haut ou à un mu...
Installation *INSTALLATION* 78 Distance de sécurité avec la crédence de niche Lorsqu’une crédence de niche est posée, la distance minimale entre la découpedu plan de travail et la crédence doit être respectée, car les températures élevéespeuvent abîmer ou détruire les matériaux. Pour une crédence en...
Installation *INSTALLATION* 79 Modes de fonctionnement Mode évacuation d’air Mode recyclage guidé Mode Plug&Play KMDA 7473 FR-A – – KMDA 7473 FR-U – KMDA 7473 FL-A – – KMDA 7473 FL-U – possible possible - autres accessoires nécessaires – impossible
Installation *INSTALLATION* 82 Instructions d'encastrement – standard Joint entre la table de cuisson et leplan de travail Dommages liés à un montage in- correct.Si vous avez utilisé un produitd'étanchéité pour joint entre le plande travail et la table de cuisson, vousrisquez d'endommager cette de...
Installation *INSTALLATION* 83 Récipient collecteur de graisses ettrappe de nettoyage La table de cuisson doit être installéede sorte que le récipient collecteur degraisse et la trappe de nettoyage puisseêtre facilement accessible et retiré pourêtre nettoyé. Paroi arrière de l'armoire d'encastre-men...
Installation *INSTALLATION* 84 Valeur U Un mode Plug&Play est possible dans les bâtiments récents et rénovés. Si le murou le plancher adjacent est en contact avec le sol ou l'air extérieur, il doit avoir uncoefficient de transmission thermique (valeur U) de : ≤ 0,5 W/(m²K). Matériau ֤ Épaisseur ...
Installation *INSTALLATION* 85 Cotes d'encastrement – standard Toutes les dimensions sont indiquées en mm. KMDA 7473 FR-A, KMDA 7473 FR-U a Avant b Bac collecteur amovible c Clapet de nettoyage d Boîtier de raccordement électrique avec câble de raccordementCâble de raccordement au réseau L = 1 440 m...
Installation *INSTALLATION* 86 KMDA 7473 FL-A, KMDA 7473 FL-U a Avant b Bac collecteur amovible c Clapet de nettoyage d Boîtier de raccordement électrique avec câble de raccordementCâble de raccordement au réseau L = 1 440 mm
Installation *INSTALLATION* 87 Mode évacuation d’air et recyclageguidé Profondeur du plan de travail 600 mm KMDA 7473 FR-A, KMDA 7473 FR-U a La paroi arrière doit pouvoir être reti-rée en cas d'intervention du SAV.Un écart minimum de 110 mm doitêtre respecté entre la paroi arrière del'appareil et la...
Installation *INSTALLATION* 88 Profondeur du plan de travail supé-rieure à 600 mm KMDA 7473 FR-A, KMDA 7473 FR-U a La paroi arrière doit pouvoir être reti-rée en cas d'intervention du SAV.Un écart minimum de 110 mm doitêtre respecté entre la paroi arrière del'appareil et la cloison attenante oule me...
Installation *INSTALLATION* 90 Profondeur du plan de travail supé-rieure à 600 mm KMDA 7473 FR-U a La paroi arrière doit pouvoir être reti-rée en cas d'intervention du SAV.Un écart minimum de 25 mm doitêtre respecté entre la paroi arrière del'appareil et la cloison attenante oule meuble attenant pou...
Installation *INSTALLATION* 91 Raccordement à un contact devitre, si nécessaire Le raccordement au contact de vitre est sous tension !Risque de blessures par électrocu-tion !Débranchez la table de cuisson del’alimentation électrique avant deraccorder le système de commuta-tion.Le câble de raccorde...
Installation *INSTALLATION* 92 Remplacez le pont par le câble d’alimentation du système de com-mutation. Refermez le boîtier. Revissez la vis du serre-câble. Rebranchez le connecteur.
Installation *INSTALLATION* 93 Encastrement avec cadre Réalisez la découpe du plan de tra-vail. Respectez les distances desécurité (voir chapitre « Installation »,section « Distances de sécurité »). Raccourcissez le gabarit de perçagefourni en haut pour l'adapter àl'épaisseur de votre plan de tr...
Installation *INSTALLATION* 94 Instructions d'encastrement – à fleur de plan Une table de cuisson à fleur de planest uniquement conçue pour être en-castrée dans un plan de travail enpierre naturelle (granite, marbre), enbois massif ou un plan carrelé. Dans lechapitre « Installation », sec-tion « Cot...
Installation *INSTALLATION* 97 Cotes d'encastrement – à fleur de plan Toutes les dimensions sont indiquées en mm. KMDA 7473 FL-A, KMDA 7473 FL-U a Avant b Bac collecteur amovible c Clapet de nettoyage d Boîtier de raccordement électrique avec câble de raccordementCâble de raccordement au réseau L = ...
Installation *INSTALLATION* 102 Encastrement à fleur de plan Réalisez la découpe du plan de tra-vail. Respectez les distances desécurité (voir chapitre « Installation »,section « Distances de sécurité »). Raccourcissez le gabarit de perçagefourni en haut pour l'adapter àl'épaisseur de votre plan...
Installation *INSTALLATION* 103 Découpe du panneau arrière - sans gabarit de perçage Utilisez de préférence le gabarit de perçage fourni. N'utilisez les instructions sui-vantes que si le gabarit de perçage n'est pas disponible. Encastrement avec cadre Vue du gabarit de perçage page 2. Pas d'illustra...
Installation *INSTALLATION* 106 Branchement électrique Dommages liés à un raccorde- ment incorrect.Des travaux d'installation, d'entretienou de réparation non conformespeuvent entraîner de graves dangerspour l'utilisateur. Miele ne saurait être tenue respon-sable des dommages causés pardes travaux...
Installation *INSTALLATION* 107 Mise hors tension Risque d'électrocution en raison de la tension réseau.Lors de travaux de réparation et/oude maintenance, un réenclenche-ment de la tension réseau peut être àl'origine d'une électrocution.Après la coupure, protégez le réseaucontre les remises sous t...
Installation *INSTALLATION* 108 Schéma électrique Toutes les possibilités de raccorde-ment ne sont pas assurées sur le sited’installation.Respectez les directives locales, na-tionales et les prescriptions complé-mentaires de la société locale de dis-tribution d’électricité. L1 200-240 V~ 200-240 V~ ...
Service après vente 109 Contact en cas d'anomalies Vous n'arrivez pas à résoudre l'anomalie par vous-même ? Contactez le serviceaprès-vente Miele ou votre revendeur Miele. Vous pouvez prendre rendez-vous en ligne avec le service après-vente Mielesous www.miele.com/service. Les coordonnées du service...
Fiches de données de produits 110 Les fiches de données des modèles décrits dans le présent mode d'emploi et lesinstructions de montage figurent ci-après. Informations relatives aux tables de cuisson électriques domes-tiques selon règlement (UE) N°66/2014 MIELE Identification du modèle KMDA 7473 Nom...
Fiches de données de produits 111 Fiche relative aux hottes domestiques selon règlement délégué (UE) N° 65/2014 et règlement (UE) N°66/2014 MIELE Identification du modèle KMDA 7473 FR-A, KM-DA 7473 FL-A Consommation énergétique annuelle (AEC hotte ) 31,5 kWh par an Classe d’efficacité énergétique A+...
Déclaration de conformité 112 Par la présente, Miele déclare que cettetable de cuisson vitrocéramique à in-duction est conforme à la directive2014/53/EU. Le texte complet de la déclaration deconformité se trouve sous une desadresses Internet suivantes : - Page d'accueil miele France, sur www.miele.f...
9 avenue Albert Einstein - Z. I. du Coudray R.C.S. Bobigny B 708 203 088 55 Boulevard Malesherbes75008 Paris 30 rue du Bac75007 Paris Secteur Cap 3000285 avenue de Verdun06700 Saint-Laurent du Var MIELE FranceSiège social 93151 - Le Blanc-Mesnil CEDEX Miele Experience CenterParis Rive Gauche Miele E...
Other Miele Autres Manuals
-
Miele APWM 066 Notice d'Installation
-
Miele APWM 062 Notice d'Installation
-
Miele APWM 065 Notice d'Installation
-
Miele APWM 020 Manuel d'utilisation
-
Miele APWM 020 Notice d'Installation
-
Miele SC Notice d'Installation
-
Miele PR Notice d'Installation
-
Miele FP 900 Notice d'Installation
-
Miele RP 900 Notice d'Installation
-
Miele APWM 019 Manuel d'utilisation
-
Miele APWM 019 Notice d'Installation
-
Miele A 830/1 Manuel d'utilisation
-
Miele TT 86 Manuel d'utilisation
-
Miele RP 1150 Notice d'Installation
-
Miele UG 5010 Notice d'Installation
-
Miele UO 5010 Notice d'Installation
-
Miele APCL 001 Notice d'Installation
-
Miele E 473/2 Manuel d'utilisation
-
Miele APRI 312 Notice d'Installation
-
Miele DOS K 85 flex Notice d'Installation