Page 3 - Table des matières
Table des matières 3 Remarques ....................................................................................................................... 6 Définition .......................................................................................................................... 6 Description...
Page 4 - Fonctionnement
Table des matières 4 Produit de rinçage ............................................................................................................. 41 Remplir le réservoir ....................................................................................................... 42 Détergent ............
Page 6 - Remarques; Exemple; Laveur
Remarques 6 Avertissements Attention ! Les remarques accompagnées de ce symbole contiennent des informations relatives à la sécurité : elles aver-tissent qu'il y a risque de dommages corporels ou matériels.Lisez attentivement ces avertissements et respectez les consignesde manipulation qu'ils cont...
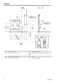
Page 7 - Description de l'appareil
Description de l'appareil 7 Vue d'ensemble a Verrouillage de porte b Accès sonde pour contrôle de fonctionne-ment(partie supérieure, avant droite ; visibleune fois le couvercle démonté) c Bras de lavage supérieur d Rails de guidage pour paniers et chariots e Bras de lavage inférieur f Plaque signalé...
Page 8 - Bandeau de commande; Allumer et éteindre le laveur
Description de l'appareil 8 Bandeau de commande a Touche (Marche/Arrêt) Allumer et éteindre le laveur b Touches , et Touches de sélection de programmesAffectation des touches possible c Touche (liste de programmes) Ouvrir la liste complète des programmes pour choisir un pro-gramme d Écran ...
Page 9 - Diodes LED des touches sensitives; Le laveur est allumé.
Description de l'appareil 9 Diodes LED des touches sensitives Les touches sensitives du bandeau de commande contiennent desdiodes LED (Light Emitting Diode) qui indiquent l'avancée du traite-ment de la charge. Touchesensitive LED Statut Touche ALLUMÉE Le laveur est allumé. CLIGNOTE Le laveur est e...
Page 10 - Utilisation conforme
Utilisation conforme 10 Ce laveur Miele permet de laver, rincer et désinfecter chimiquementen machine les articles de protection respiratoire réutilisables pourune utilisation professionnelle comme les appareils et masques respi-ratoires, et les supports de respirateur à air comprimé. Pour ce faire,...
Page 11 - Profils utilisateurs; Exécution des tâches quotidiennes de routine; . Le menu est accessible à; Administration; . Un code PIN protège ce dernier contre tout accès
Profils utilisateurs 11 Exécution des tâches quotidiennes de routine Les personnes qui manipulent le laveur au quotidien doiventconnaître les principales fonctions de l'appareil, savoir charger et dé-charger et suivre des formations régulières. Ces utilisateurs doiventavoir les connaissances nécessa...
Page 12 - Consignes de sécurité et mises en garde
Consignes de sécurité et mises en garde 12 Ce laveur répond aux consignes de sécurité en vigueur. Tout usagenon conforme risque de provoquer des dommages corporels etmatériels. Lisez attentivement le mode d'emploi avant de mettre cette ma-chine en service. Vous éviterez de vous blesser ou de blesser...
Page 14 - Contrôles qualité
Consignes de sécurité et mises en garde 14 En cas de contact avec les vapeurs toxiques ou les produits chi- miques, conformez-vous aux fiches de données de sécurité des fa-bricants des produits chimiques ! Laissez refroidir les paniers, les modules, les compléments et la charge avant de sortir c...
Page 16 - Après des travaux sur les conduits d'alimentation en eau potable,
Consignes de sécurité et mises en garde 16 Pour prévenir tout risque de corrosion, évitez tout contact entre la carrosserie inox du laveur et les solvants ou vapeurs qui contiennentde l'acide chlorhydrique. Après des travaux sur les conduits d'alimentation en eau potable, purgez le conduit d'ali...
Page 17 - Empêchez les enfants de toucher aux produits chimiques ! Ces; Utilisation de composants et accessoires; Ne raccordez que des accessoires Miele à la machine. Ils doivent; Symboles sur le laveur
Consignes de sécurité et mises en garde 17 Présence d'enfants Surveillez les enfants qui se trouveraient près du laveur. Ne les lais- sez jamais jouer avec le laveur. Ils seraient capables de se mettre endanger en s'y enfermant. L'utilisation du laveur par des enfants est strictement interdite !...
Page 18 - Votre ancien appareil; N'oubliez pas que l'appareil peut être contaminé par des traces de
Consignes de sécurité et mises en garde 18 Votre ancien appareil N'oubliez pas que l'appareil peut être contaminé par des traces de sang, de fluides corporels ou par des substances nocives pour lasanté et l'environnement ; il devra par conséquent être décontaminéavant d'être enlevé.Pour des raison...
Page 19 - Commande; et de la touche
Commande 19 Bandeau de commande Le laveur s'utilise exclusivement via les touches du bandeau de com-mande. Les touches sont imprimées des deux côtés de l'écran sur lasurface inox du bandeau de commande. L'écran lui-même n'est pasun écran tactile. Pour utiliser les touches, appuyez simplement sur la ...
Page 20 - Mise en marche; Mode veille
Commande 20 Mise en marche Le laveur doit être raccordé au réseau électrique. Pressez la touche jusqu'à ce que la LED s'allume sur le clavier. L'écran affiche ensuite le message suivant : PG 8063 Dès que le laveur est prêt, l'écran indique quel est le dernier pro-gramme à avoir été utilisé. Exem...
Page 21 - Interface utilisateur à l'écran; Menu; et
Commande 21 Interface utilisateur à l'écran L'interface utilisateur du laveur est divisée en menus. Le menu sélec-tionné s'affiche sur 3 lignes dans le bandeau de commande. Sont affichés le nom du menu (ligne du haut) et deux options aumaximum. L'option sélectionnée apparaît en surbrillance. Réglage...
Page 22 - Flèches de navigation; Pointillés; Messages système; OK
Commande 22 Symboles à l'écran Flèches de navigation Lorsqu'un menu offre plus de 2 choix, deux flèches de navigations'affichent à la droite du paramètre à sélectionner. Réglages Langue Date Les flèches de navigation et du bandeau de commande per- mettent de naviguer dans le menu. - - - - ...
Page 23 - Réglages dans le menu; Options
Commande 23 Réglages dans le menu Dans ce mode d'emploi, toutes les descriptions sur le mode d'utilisa-tion du menu sont structurées selon le schéma suivant : Chemin d'accès Le chemin d'accès décrit les étapes à valider absolument avant d'ar-river au niveau de menu souhaité. Vous devez sélectionner ...
Page 24 - Ouvrir et fermer la porte; Ouverture de porte; Le bandeau de commande du laveur sert aussi de poignée.; Fermeture de porte; N'approchez pas votre main de la zone de fermeture de la
Ouvrir et fermer la porte 24 Ouverture de porte En cas d'ouverture de porte en cours de programme, de l'eau chaude et des produits chimiques risquent de s'écouler de l'ap-pareil.Risque de brûlures graves !Ouvrez la porte uniquement si le programme est terminé. Le bandeau de commande du laveur sert...
Page 25 - Adoucisseur
Adoucisseur 25 Dureté de l'eau Pour obtenir de bons résultats de lavage, l'eau utilisée dans le laveurdoit être douce (peu calcaire). Lorsque l'eau est trop dure, des tracesblanches risquent d'apparaître sur la charge et dans la cuve. Une eau dont le degré de dureté dépasse 0,7 mmol/l, soit 4 °dH do...
Page 26 - Régler la dureté de l'eau
Adoucisseur 26 Régler la dureté de l'eau La plage de réglage de la dureté de l'eau est comprise entre 0 et12,6 mmol/l (0 - 70 °dH). Pour accéder au menu principal Réglages suppl. , commencez par éteindre le laveur en appuyant sur puis, tout en maintenant la touche enfoncée, rallumez-le en appu...
Page 27 - Tableau de réglage
Adoucisseur 27 Tableau de réglage °dH °f mmol/l Ecran °dH °f mmol/l Ecran 0 0 0 0 36 65 6,5 36 1 2 0,2 1 37 67 6,7 37 2 4 0,4 2 38 68 6,8 38 3 5 0,5 3 39 70 7,0 39 4 7 0,7 4 40 72 7,2 40 5 9 0,9 5 41 74 7,4 41 6 11 1,1 6 42 76 7,6...
Page 28 - Ajout de sel régénérant; Ne versez jamais de détergent dans le réservoir à sel ! Votre
Adoucisseur 28 Ajout de sel régénérant Utilisez uniquement des sels régénérants spécifiques à gros grains oudu sel raffiné pur avec une granularité d'1 à 4 mm environ.N'utilisez jamais d'autres sels, tels que du sel de cuisine, du sel dedéneigement ou du sel pour animaux. Ce type de sels peut conten...
Page 29 - Ne versez jamais d'eau dans le réservoir !
Adoucisseur 29 Ne versez jamais d'eau dans le réservoir ! Le réservoir pourrait déborder pendant que vous le remplissez. Remplissez au maximum le réservoir de sel de sorte que le clapetdu réservoir de remplissage puisse être replié sans difficulté. Neversez pas plus de 2 kg de sel. Lors du rempl...
Page 30 - Message : manque de sel; Confirmez le message en appuyant sur la touche
Adoucisseur 30 Message : manque de sel Si le niveau du réservoir de sel est trop bas, le message suivant vousinvite à remplir le réservoir de sel : Remplir sel Confirmez le message en appuyant sur la touche OK et versez du sel régénérant en suivant les instructions. Si ce message s'affiche pour ...
Page 31 - Technique d'utilisation; Accessoires de chargement; Choisissez les accessoires en fonction de leur utilisation.
Technique d'utilisation 31 Accessoires de chargement Le laveur peut être équipé de différents accessoires de chargementqui peuvent être à leur tour équipés de différents compléments enfonction du type et de la forme de la charge à laver. Choisissez les accessoires en fonction de leur utilisation. Vo...
Page 32 - niveau supérieur
Technique d'utilisation 32 niveau supérieur Descendez les supports à roulettes des deux côtés sur la positionla plus basse puis revissez bien. Placez la plaque en acier inoxydable juste en face des trous dutuyau d'arrivée d'eau en recouvrant bien le trou du haut. Serrez les2 vis en haut de la pl...
Page 33 - niveau inférieur
Technique d'utilisation 33 niveau inférieur Montez les supports à roulettes des deux côtés jusqu'à la positionsupérieure puis revissez bien. Placez la plaque en acier inoxydable juste en face des trous dutuyau d'arrivée d'eau en recouvrant bien le trou du haut. Serrez les2 vis de la plaque en ac...
Page 34 - Disposer la charge
Technique d'utilisation 34 Disposer la charge Risque sanitaire en raison d'une charge contaminée. Une charge contaminée peut présenter différents risques pour lasanté qui, selon la nature de la contamination, peuvent causer no-tamment des infections, des intoxications ou des blessures.En présence ...
Page 35 - Vérifiez les points suivants à la fin de chaque programme :
Technique d'utilisation 35 Risque de dommages en raison de matériaux en fer corrodés. Les matériaux en fer corrodés peuvent provoquer la corrosion dulaveur et de la charge.Les matériaux en fer susceptibles de se corroder ne doivent pasêtre chargés dans le laveur. Démontez les éléments de la char...
Page 36 - Appareils respiratoires
Technique d'utilisation 36 Appareils respiratoires APFD 200 A 101 A 151 Le complément APFD 200 est prévu pour le traitement des appareilsrespiratoires. Le complément peut être utilisé en combinaison avec lepanier supérieur A 101 ou le panier inférieur A 151. Le panier supé-rieur réglable en hauteur ...
Page 37 - Risque d’infection
Technique d'utilisation 37 Après le traite-ment Vérifiez si les tuyaux moyenne pression se sont détachés des rac-cords rapides et si l'indicateur d'air comprimé affiche une surpres-sion suffisante dans le réservoir sous pression. Si les appareils respiratoires se sont détachés des raccords rapides...
Page 38 - Masques respiratoires
Technique d'utilisation 38 Masques respiratoires APFD 201 A 151 Le complément APFD 201 est prévu pour le traitement des masquesrespiratoires en combinaison avec le support de panier inférieur A151. Les masques doivent être insérés sur les supports du complé-ment. Après le traite-ment Retirez les m...
Page 39 - Support de respirateur à air comprimé
Technique d'utilisation 39 Support de respirateur à air comprimé APFD 203 A 151 Pour le traitement des supports de respirateur à air comprimé, il estpossible d'utiliser le complément APFD 203 en association avec lesupport de panier inférieur A 151. Après le traite-ment Retirez le support et videz ...
Page 40 - Ajouter et doser les produits chimiques; Dispositifs de dosage
Ajouter et doser les produits chimiques 40 Risque sanitaire en raison de produits chimiques inappropriés. L'utilisation de produits chimiques inappropriés peut avoir un im-pact négatif sur les résultats de traitement et présente un risque dedommages corporels et matériels.N'utilisez que des produi...
Page 41 - Modules DOS; Un plan de montage séparé est fourni avec le module DOS.; Produit de rinçage; . Le réservoir doit donc avoir été préalablement rem-
Ajouter et doser les produits chimiques 41 Modules DOS Les modules DOS externes sont installés par le service après-venteMiele ou un technicien agréé. Les doseurs internes ne peuvent pasêtre installés ultérieurement. Raccorder le mo-dule DOS Un plan de montage séparé est fourni avec le module DOS. ...
Page 43 - Validez en appuyant sur
Ajouter et doser les produits chimiques 43 Versez le produit de rinçage jusqu'à atteindre la graduation maxi-male de l'entonnoir mais sans la dépasser. Fermez le réservoir. En cas de débordement, essuyez soigneusement le produit de rin-çage afin de prévenir toute présence de mousse lors du pro...
Page 44 - Détergent; Dommages dus à un détergent inapproprié.
Ajouter et doser les produits chimiques 44 Détergent Dommages dus à un détergent inapproprié. L'utilisation de détergents inappropriés, comme des détergentspour lave-vaisselle ménagers, peut nuire aux résultats du traite-ment.Utilisez exclusivement des détergents conçus pour le traitementdes appar...
Page 46 - Attention à ne pas inhaler les émanations de détergents en
Ajouter et doser les produits chimiques 46 Détergent enpoudre Au départ usine, le dosage de détergent liquide est paramétré pourêtre effectué via un module DOS externe.Il est impossible de doser simultanément un détergent liquide et undétergent en poudre. Si vous souhaitez utiliser du détergent enpo...
Page 47 - Remplissez le compartiment du réservoir de détergent.
Ajouter et doser les produits chimiques 47 Remplissez le compartiment du réservoir de détergent. Fermez ensuite le clapet du réservoir. A la fin de chaque programme, vérifiez que le détergent s'est complètement dissout.Dans le cas contraire, redémarrez le programme.Vérifiez si la charge a éven...
Page 48 - Sélectionner un programme; Démarrer le programme
Fonctionnement 48 Sélectionner un programme Touches de sélec-tion de pro-gramme Sélectionnez un programme en actionnant l'une des touches de sé-lection de programme , ou . Liste desprogrammes Appuyez sur la touche et marquez un programme à l'aide des flèches et puis validez votre s...
Page 50 - Afficher le déroulement du programme; Pour consulter les paramètres suivants, utilisez les flèches; - température réelle ou de consigne; Fin de programme; (température de consigne du dernier bloc de lavage)
Fonctionnement 50 Afficher le déroulement du programme Après le démarrage du programme, vous pouvez en suivre le déroule-ment à l'écran sur le texte à 3 lignes. LavageTemps rest. min 15 Sf Special Ligne du haut - Nom du programme. Ligne du milieu Pour consulter les paramètres suivants, utilisez les ...
Page 51 - Interruption de programme
Fonctionnement 51 Interruption de programme Attention à l'ouverture de la porte ! Les pièces peuvent être brûlantes. Risque de brûlures ! Un programme en cours ne devrait être interrompu qu'exceptionnelle-ment, par exemple si la charge bouge trop. Ouvrez la porte. Le message suivant s'affiche à ...
Page 52 - Réglages; La structure du menu
Réglages 52 La structure du menu Réglages est présentée ci-dessous. Le menu comprend toutes les fonctions essentielles permettant d'assurer lestâches quotidiennes. Dans l'arborescence de la structure, des cases sont jointes à toutes les options mémorisables. Les réglages d'usine sont signalésp...
Page 53 - Départ différé
Réglages 53 Départ différé Pour pouvoir profiter du départ différé, vous devez le déverrouiller. Pour accéder au menu principal, commencez par éteindre le laveuren appuyant sur puis, tout en maintenant la touche enfoncée, rallumez-le en appuyant sur . Pour accéder au menu, vous devez sui...
Page 54 - Purge DOS
Réglages 54 Purge DOS Les dispositifs de dosage pour produits chimiques liquides ne fonc-tionnent correctement qu'une fois l'air évacué. Un dispositif de dosage ne doit être aéré que lorsque - le dispositif de dosage est utilisé pour la première fois, - le réservoir a été remplacé, - le dispositif...
Page 55 - Langue
Réglages 55 Langue Vous devez régler la langue d'affichage. Pour accéder au menu principal, commencez par éteindre le laveuren appuyant sur puis, tout en maintenant la touche enfoncée, rallumez-le en appuyant sur . Pour accéder au menu, vous devez suivre le chemin d'accès sui-vant : ...
Page 56 - Date
Réglages 56 Date Réglage du format de présentation et de l'heure exacte. Choisir le formatdate Le format de date que vous choisissez se répercute sur la date quis'affiche à l'écran et sur les protocoles de traçabilité. Pour accéder au menu principal, commencez par éteindre le laveuren appuyant s...
Page 57 - Régler la date
Réglages 57 Régler la date La date du jour est réglée au format de date sélectionné. Pour accéder au menu principal, commencez par éteindre le laveuren appuyant sur puis, tout en maintenant la touche enfoncée, rallumez-le en appuyant sur . Pour accéder au menu, vous devez suivre le chemi...
Page 58 - Heure
Réglages 58 Heure L'heure est notamment nécessaire pour le départ différé et l'affichageà l'écran. Le format de présentation et l'heure exacte sont désormaisconfigurés. Il n'y a pas de passage automatique entre l'heure d'été et l'heured'hiver.Vous devez procéder vous-même au réglage. Choisir le fo...
Page 61 - Volume
Réglages 61 Volume Un émetteur sonore intégré au bandeau de commande est suscep-tible de signaler les situations décrites ci-dessous : - Saisie de touches de commande (bip touches) - Fin de programme - Messages système (consignes) Pour accéder au menu principal, commencez par éteindre le laveure...
Page 64 - Saisir le code PIN
Réglages suppl. 64 Code On trouve dans le menu Réglages suppl. toutes les fonctions et les principaux réglages système qui nécessitent des connaissances sup-plémentaires dans le domaine du traitement en machine. Il se peutqu'il faille composer un code à 4 chiffres ou un code PIN avant d'ac-céder au ...
Page 65 - Validation
Réglages suppl. 65 Validation La fonction suivante permet d'accéder au menu Réglages suppl. ou d'en verrouiller l'accès grâce à un code PIN. Pour accéder au menu principal Réglages suppl. , commencez par éteindre le laveur en appuyant sur puis, tout en maintenant la touche enfoncée, rallumez-l...
Page 67 - Journal de bord
Réglages suppl. 67 Journal de bord Dans le journal de bord sont consignées les données relatives à laconsommation d'eau et de produits chimiques ainsi que les heuresde fonctionnement et le déroulement des programmes. Tout le cyclede vie de la machine y est répertorié. Par ailleurs, le service après-...
Page 69 - Modifier l'emplacement d'un programme dans la liste
Réglages suppl. 69 Modifier l'emplacement d'un programme dans la liste Vous pouvez trier les programmes de la liste comme vous le souhai-tez et associer les touches de sélection de programme , et aux programmes que vous utilisez le plus souvent. Pour accéder au menu principal Réglages suppl....
Page 70 - Fonctions supplémentaires
Réglages suppl. 70 Fonctions supplémentaires Ce menu vous permet d'adapter les programmes existants aux tech-niques de lavage spéciales et au type de charge mais aussi de res-taurer les réglages d'usine des fonctions supplémentaires. Pour modifier les paramètres d'un programme, vous devez posséderde...
Page 71 - Les paramètres modifiés sont sauvegardés.; Choisissez une option à l'aide des flèches
Réglages suppl. 71 Restaurer lesréglages d'usine Vous pouvez restaurer les réglages d'usine des fonctions supplémen-taires. Les autres paramètres configurés restent inchangés. ... Réinitialiser Réinitialiser non oui - non Les paramètres modifiés sont sauvegardés. - oui Les paramètres...
Page 75 - Concentration; Réglez la concentration à l'aide des flèches de navigation
Réglages suppl. 75 Concentration La concentration de dosage pour les produits chimiques peut êtreadaptée en une fois à tous les programmes par ex. en cas de chan-gement de fabricant pour tous les programmes. La concentration de dosage doit être réglée conformément aux indi-cations des fabricants ou ...
Page 79 - Valider un programme
Réglages suppl. 79 Valider un programme Pour accéder au menu principal Réglages suppl. , commencez par éteindre le laveur en appuyant sur puis, tout en maintenant la touche enfoncée, rallumez-le en appuyant sur . Pour accéder au menu, vous devez suivre le chemin d'accès sui-vant : ...
Page 80 - Affichage de la température
Réglages suppl. 80 Affichage de la température Vous pouvez visualiser la température de la cuve en cours de pro-gramme. A l'écran s'affiche soit la température en temps réel, soit la tempéra-ture de consigne prédéfinie pour le bloc de lavage en cours. Pour accéder au menu principal Réglages suppl....
Page 81 - Contraste et luminosité de l'écran
Réglages suppl. 81 Contraste et luminosité de l'écran Ce menu permet d'ajuster le contraste et la luminosité de l'écran. Pour accéder au menu principal Réglages suppl. , commencez par éteindre le laveur en appuyant sur puis, tout en maintenant la touche enfoncée, rallumez-le en appuyant sur ...
Page 82 - Arrêt dans
Réglages suppl. 82 Arrêt dans En cas de non utilisation du laveur pendant un temps configuré, ce-lui-ci se met en veille ou s'éteint automatiquement. Mode veille En mode veille, le laveur reste allumé, et l'heure s'affiche à l'écran. Lelaveur est réactivé en appuyant sur n'importe quelle touche. P...
Page 83 - Version logiciel
Réglages suppl. 83 Activer « Arrêtdans » Pour accéder au menu principal Réglages suppl. , commencez par éteindre le laveur en appuyant sur puis, tout en maintenant la touche enfoncée, rallumez-le en appuyant sur . Pour accéder au menu, vous devez suivre le chemin d'accès sui-vant : ...
Page 85 - Entretien; Maintenance; au plus tard après
Entretien 85 Maintenance Le service après-vente Miele ou un technicien agréé doit contrôlercette machine à intervalles réguliers, à savoir au plus tard après 1000 heures de fonctionnement et au moins une fois par an . La maintenance couvre les points et contrôles fonctionnels suivants : - remplaceme...
Page 86 - Nettoyer les filtres de cuve; Dommages provoqués par des voies d'eau obstruées.
Entretien 86 Nettoyer les filtres de cuve Les filtres au fond de la cuve permettent d'empêcher que les plusgrosses particules de saleté passent dans le système de circulation.Les filtres peuvent être obstrués par ces particules. Aussi les filtresdoivent être contrôlés tous les jours et nettoyés si n...
Page 87 - Sortez le tamis en dernier.
Entretien 87 Sortez le tamis en dernier. Nettoyez les filtres. Remettez la combinaison de filtres dans l'ordre inverse. Vérifiezque : - ... le tamis est posé bien à plat et adhère au fond de la cuve. - ... le filtre conique s'enclenche bien dans le microfiltre. - ... le microfiltre est vissé à...
Page 88 - Contrôler et nettoyer les bras de lavage
Entretien 88 Contrôler et nettoyer les bras de lavage Il arrive parfois que les gicleurs des bras de lavage se bouchent, no-tamment si les filtres ne sont pas correctement enclenchés dans lacuve et que des particules grossières arrivent dans le circuit du bainlessiviel. Un contrôle visuel des bras d...
Page 89 - Aucun objet en métal et aucune partie d'instrument ne doit
Entretien 89 Repoussez les salissures dans le bras de lavage à l'aide d'un objetpointu. Pour terminer, passez le bras de lavage sous l'eau. Aucun objet en métal et aucune partie d'instrument ne doit adhérer aux aimants des bras de lavage.Eloignez tous les objets métalliques des aimants. Véri...
Page 90 - Nettoyer le laveur; Ne lavez pas le laveur et son environnement immédiat au jet
Entretien 90 Nettoyer le laveur Ne lavez pas le laveur et son environnement immédiat au jet d'eau ou au nettoyeur à haute pression. Sur les surfaces en inox, n'utilisez jamais de détergents conte- nant du sel d'ammoniaque ni de dilution au nitrate ou à la résinesynthétique !Ces produits pourraie...
Page 91 - Contrôler les accessoires de chargement; Les points suivants doivent être contrôlés :
Entretien 91 Contrôler les accessoires de chargement Pour garantir le fonctionnement des paniers et compléments, vousdevez procéder à un contrôle avant toute utilisation. Les points suivants doivent être contrôlés : - les roulettes des paniers sont-elles en bon état et correctement re- liées au pani...
Page 92 - Conseils en cas de panne; Anomalies et messages techniques; Le laveur est éteint.; apparaît
Conseils en cas de panne 92 Les tableaux suivants vous aideront à déterminer les causes de la panne et à trouver unesolution. A respecter impérativement ! Seuls les techniciens agréés Miele sont habilités à réparer ce laveur. Des réparations incorrectes peuvent entraîner de graves dangers pour l'u...
Page 93 - Dosage/Dispositifs de dosage; Attention lorsque vous manipulez des produits chimiques !; Eliminez les restes de détergent.; Remplacez le bidon par un autre bidon plein.
Conseils en cas de panne 93 Problème Cause et solution Eau dans le réservoir souspression Causes possibles de la présence d'eau dans le réservoirsous pression :- Formation de condensation en raison d'un taux d'humidi-té plus élevé de l'air comprimé- Défaut du système d'air comprimé côté installation...
Page 94 - Patientez jusqu'à ce que la purge soit terminée.; Purgez le dispositif de dosage.
Conseils en cas de panne 94 Problème Cause et solution Purge syst. dosage DOS acti-vée Aucune anomalie !Le dispositif de dosage est purgé automatiquement. Patientez jusqu'à ce que la purge soit terminée. Purge système DOS inter-rompue, répéter. La purge du dispositif de dosage a été interrompue car ...
Page 95 - Quantité de sel insuffisante/Adoucisseur; pas
Conseils en cas de panne 95 Quantité de sel insuffisante/Adoucisseur Problème Cause et solution Remplir sel Il n'y a plus de sel dans l'adoucisseur. Remplissez-le de sel régénérant avant le prochain dé-marrage de programme. Dernier rappel : verrouillagede l'appareil pour manque desel Il n'y a plus...
Page 96 - Interruption avec affichage d'un code erreur
Conseils en cas de panne 96 Interruption avec affichage d'un code erreur Si l'appareil s'arrête et affiche un code erreur tel que Anomalie XXX (XXX symbolise ici un code type), il est probable qu'un problème technique grave vient de se produire. En cas d'interruption avec affichage d'un code erreur,...
Page 97 - Anomalies et messages relatifs au process
Conseils en cas de panne 97 Problème Cause et solution Anomalie 492, 504 Un programme s'est interrompu car la pression est tropfaible. Les filtres de la cuve sont peut-être bouchés. Risque de blessures dus à des éclats de verres, ai- guilles etc. retenus par les filtres. Vérifiez et nettoyez les...
Page 98 - Nettoyage insuffisant et corrosion; Ajoutez du sel régénérant.
Conseils en cas de panne 98 Nettoyage insuffisant et corrosion Problème Cause et solution Il reste des tracesblanches sur la charge L'adoucisseur est mal réglé. Programmez l'adoucisseur selon la dureté de l'eau devotre commune. Il n'y a plus de sel dans le réservoir. Ajoutez du sel régénérant. L...
Page 100 - Arrivée d'eau et vidange
Conseils en cas de panne 100 Arrivée d'eau et vidange Problème Cause et solution Contrôler arrivée d'eau Un ou plusieurs robinets d'eau sont fermés. Ouvrez les robinets d'eau. Il n'y a pas assez d'eau dans le laveur. Nettoyez les filtres d'arrivée d'eau. Ouvrez les robinets d'eau à fond. La pr...
Page 101 - Bruits
Conseils en cas de panne 101 Bruits Problème Cause et solution Bruits de chocs dans lacuve Un ou plusieurs bras de lavage tapent contre les pièces. Interrompez le programme. Respectez les consignes duchapitre « Annulation de programme ». Disposez les pièces de telle sorte qu'elles ne puissentpas...
Page 102 - Résoudre une panne; Nettoyer la pompe de vidange et le clapet anti-retour
Résoudre une panne 102 Nettoyer la pompe de vidange et le clapet anti-retour Si l'eau n'a pas été complètement vidangée de la cuve en fin de pro-gramme, c'est peut-être qu'un corps étranger a bloqué la pompe devidange ou le clapet anti-retour. Retirez la combinaison de filtres de la cuve (voir cha...
Page 103 - Le boîtier plastique de raccordement à l'eau contient un com-
Résoudre une panne 103 Nettoyer les filtres d'arrivée d'eau Des filtres ont été montés dans les raccords de tuyaux pour protégerles électrovannes d'arrivée d'eau. Si les filtres sont sales, il faut lesnettoyer, l'encrassement des filtres empêchant l'eau d'entrer enquantité suffisante dans la cuve. ...
Page 104 - Service après vente; Contacter le service après-vente; Les réparations doivent exclusivement être effectuées par le
Service après vente 104 Contacter le service après-vente Les réparations doivent exclusivement être effectuées par le SAV Miele ou un technicien agréé par Miele. Des réparations incorrectes peuvent entraîner de graves dangerspour l'utilisateur. Remarque : afin d'éviter des interventions inutiles d...
Page 106 - Installation; Installation et ajustement
Installation *INSTALLATION* 106 Installation et ajustement Veuillez respecter le plan d’installation joint ! Il est conseillé de n'installer que des meubles pour applications professionnelles à proximité du laveur afin de prévenir tout dom-mage causé par la condensation. Le laveur doit être instal...
Page 107 - Installation sous un plan de travail; retirez au dos de la machine les deux vis d'arrêt du couvercle.
Installation *INSTALLATION* 107 Installation sous un plan de travail Retirer lecouvercle del'appareil Pour l'encastrement sous un plan de travail continu, le couvercle del'appareil doit être retiré comme suit : retirez au dos de la machine les deux vis d'arrêt du couvercle. ouvrez la porte. dé...
Page 109 - Raccordements électriques; plaque signalétique; Brancher la liaison équipotentielle
Raccordements électriques *INSTALLATION* 109 Tous les travaux concernant les branchements électriques doivent être effectués par un électricien agréé. - Le raccordement électrique doit être conforme aux normes en vi- gueur imposées par EDF. - Le raccordement électrique par la prise de courant doit...
Page 110 - Branchements électriques pour la Suisse; Gestion de charge
Raccordements électriques *INSTALLATION* 110 Branchements électriques pour la Suisse Les branchements électriques du laveur peuvent se faire via un inter-rupteur ou une fiche. Seul un électricien agréé respectant les pres-criptions en vigueur est habilité à procéder à cette installation. Circuit de ...
Page 111 - Raccordements à l'eau; ou
Raccordements à l'eau *INSTALLATION* 111 Raccordement à l'arrivée d'eau L'eau qui se trouve dans le laveur n'est pas potable ! - Le raccordement du laveur au réseau de distribution d'eau doit être conforme aux dispositions en vigueur de la compagnie des eaux. - L'eau utilisée doit posséder au moin...
Page 112 - Les tuyaux d'arrivée d'eau ne doivent être
Raccordements à l'eau *INSTALLATION* 112 Les tuyaux d'arrivée d'eau ne doivent être ni raccourcis ni en- dommagés. Voir également le schéma d'installation joint ! Directive pourl'Allemagne et laSuisse En raison des réglementations nationales relatives à la protectionde l'eau potable, le clapet ant...
Page 114 - Raccordement à la vidange; séparé
Raccordements à l'eau *INSTALLATION* 114 Raccordement à la vidange - La vidange du laveur comporte un clapet anti-retour qui empêche l'eau sale de remonter dans le laveur à travers le tuyau de vidange. - Le laveur devrait de préférence être raccordé à un dispositif de vi- dange séparé . Si cela n'es...
Page 115 - Caractéristiques techniques
Caractéristiques techniques 115 Hauteur avec dessusHauteur sans dessus 835 mm 820 mm Largeur 598 mm Profondeur Profondeur porte ouverte 598 mm 1.200 mm Dimensions utiles de la cuve : Hauteur Largeur Profondeur Panier supérieur / Panier inférieur 520 mm 530 mm 474 mm/ 520 mm Poids (net) 7...
Page 116 - Tableau des programmes; Programme
Tableau des programmes 116 Programme Utilisation Prélavage 1 2 3 Sf Special Pour laver et désinfecter chimiquement les équipementsde protection respiratoire légèrement sales, par ex. suiteà des exercices (pas d'exercices en conditions réelles). Sf Special Plus Pour laver et désinfecter chimiquement ...
Page 117 - Déroulement de programme
Tableau des programmes 117 Déroulement de programme Lavage Rinçage intermédiaire Rinçage final 1 2 1 2 3 4 1 2 EF 60 °C DOS 1 5 min AD 60 °C 5 min EF 60 °C DOS 1 5 min EF 1 min AD 60 °C 5 min EF 60 °C DOS 1 5 min AD 60 °C 5 min Régénération EF KW 1 min EF = eau froide AD = eau déminéralisée, eau pur...
Page 118 - Votre contribution à la protection de l'environnement; Nos emballages
Votre contribution à la protection de l'environnement 118 Nos emballages Nos emballages protègent le laveur des dommages pouvant survenirpendant le transport. Nous les sélectionnons en fonction de critèresécologiques permettant d'en faciliter le recyclage. En participant au recyclage de vos emballag...
Page 120 - Contact Service Commercial
Belgique: S.A. Miele Belgique Z.5 Mollem 480 – 1730 Mollem (Asse)Tel. 02/451.15.40E-mail: [email protected] Internet: www.miele-professional.be Miele SALimmatstrasse 4, 8957 SpreitenbachTéléphone +41 56 417 27 51Téléfax +41 56 417 24 69[email protected]www.miele.ch/professionalService de réparation ...