Miele PG 8063 [OK Safety] - Notice d'Installation

Miele PG 8063 [OK Safety]

Miele PG 8063 [OK Safety] - Notice d'Installation, à lire gratuitement en ligne au format PDF. Nous espérons que cela vous aidera à résoudre toutes les questions que vous pourriez avoir. Si vous avez encore des questions, contactez-nous via le formulaire de contact.

1 Page 1
2 Page 2
3 Page 3
4 Page 4
5 Page 5
6 Page 6
7 Page 7
8 Page 8
9 Page 9
10 Page 10
11 Page 11
Page: / 11

Table des matières:

  • Page 2 – Consignes d'installation
  • Page 4 – à côté ou en dessous
  • Page 5 – Figures
  • Page 8 – Caractéristiques techniques; Branchement électrique
  • Page 9 – Eau déminéralisée
  • Page 10 – Émission de chaleur dans la pièce d'installation
Téléchargement du manuel

Schéma d'implantation

PG 8063

Lisez

impérativement

ce mode d'emploi et la

documentation de service avant d'installer et de
mettre en service votre appareil. Vous vous pro-
tégerez et éviterez de détériorer votre matériel.

fr - FR, CH, BE

M.-Nr. 11 140 042

„Téléchargement du manuel“ signifie que vous devez attendre que le fichier soit complètement chargé avant de pouvoir le lire en ligne. Certains manuels sont très volumineux, et le temps de chargement dépend de la vitesse de votre connexion Internet.

Autres Manuels pour Miele PG 8063 [OK Safety]

Résumé

Page 2 - Consignes d'installation

Consignes d'installation 2 PG 8063 Autorisationd'installation Seuls des électriciens / plombiers habilités sont autorisés à installer le laveur-désinfecteur selon les instructions d'installation. Le laveur-désinfecteur doit être installé conformément aux normes etdirectives en vigueur, aux dispositi...

Page 4 - à côté ou en dessous

Consignes d'installation 4 PG 8063 Produits chi-miques liquides :Mise en place derécipients ex-ternes Le récipient avec des produits chimiques liquides vers le dosage ex-terne doit uniquement être placé à côté ou en dessous du laveur- désinfecteur. Le réservoir peut être posé au sol ou dans un placa...

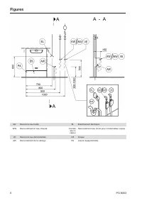
Page 5 - Figures

Figures PG 8063 5 kW Raccord à eau froide EL Branchement électrique WW Raccordement à l'eau chaude Conden- seur à vapeur Raccordement eau froide pour condensateur vapeur VE Raccord à eau déminéralisée DS Doseur AW Raccordement de la vidange PA Liaison équipotentielle

Autres modèles de Miele