Miele C 4060 WM 9 SL - Notice d'Installation

Miele C 4060 WM 9 SL - Notice d'Installation, à lire gratuitement en ligne au format PDF. Nous espérons que cela vous aidera à résoudre toutes les questions que vous pourriez avoir. Si vous avez encore des questions, contactez-nous via le formulaire de contact.
Table des matières:
- Page 41 – Monnayeur; Pièces fournies; Pièces fournies; Dénomination
- Page 42 – Vérificateur de monnaie 0,50 EUR; Autocollant
- Page 44 – Forer 4 trous de
- Page 45 – Raccorder électriquement le monnayeur; Denominazione
Umbau- und Montageanweisung
M.-Nr. 05719362
1 von 63
20.01.2022
Diese Unterlagen dürfen ohne unsere Genehmigung weder vervielfältigt noch Dritten zugänglich gemacht werden. Eigentumsrechte vorbehalten.
de
Kassiergerät
en
Payment device
cs
Inkasní přístroj
el
Κερματοδέκτης
en-
US
Payment device
es
Aparato recaudador
fi
Rahastin
fr
Monnayeur
it
Gettoniera
nl
Betaalautomaat
pt
Mealheiro
sv
Betal-/bokningssystem
1
„Téléchargement du manuel“ signifie que vous devez attendre que le fichier soit complètement chargé avant de pouvoir le lire en ligne. Certains manuels sont très volumineux, et le temps de chargement dépend de la vitesse de votre connexion Internet.
Autres Manuels pour Miele C 4060 WM 9 SL
Résumé
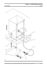
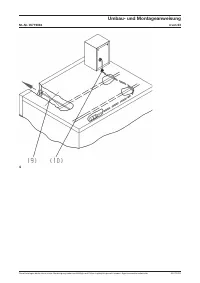
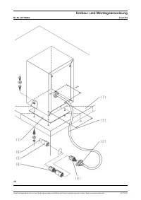
Umbau- und Montageanweisung M.-Nr. 05719362 41 von 63 Diese Unterlagen dürfen ohne unsere Genehmigung weder vervielfältigt noch Dritten zugänglich gemacht werden. Eigentumsrechte vorbehalten. 20.01.2022 fr Monnayeur Selon l'utilisation, l'un des monnayeurs suivants est nécessaire : Pièces nécessaire...
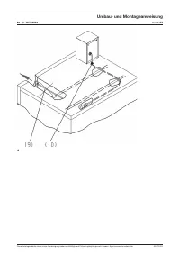
Umbau- und Montageanweisung M.-Nr. 05719362 42 von 63 Diese Unterlagen dürfen ohne unsere Genehmigung weder vervielfältigt noch Dritten zugänglich gemacht werden. Eigentumsrechte vorbehalten. 20.01.2022 Selon le modèle, l'un des monnayeurs suivants est inclus : Pièces fournies Nombre N° Mat. Dénomin...
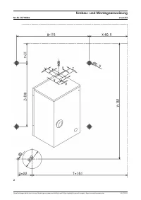
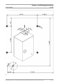
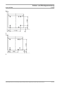
Umbau- und Montageanweisung M.-Nr. 05719362 44 von 63 Diese Unterlagen dürfen ohne unsere Genehmigung weder vervielfältigt noch Dritten zugänglich gemacht werden. Eigentumsrechte vorbehalten. 20.01.2022 A Poser l'isolant en caoutchouc sur le couvercle de l'appareil et l'ajuster sur les arêtes X = 60...