Page 2 - table des matières; FRANÇAIS
– 23 – Nous vous remercions d’avoir choisi un climatiseur MITSUBISHI HEAVY INDUSTRIES,LTD. Pour obtenir des performances optimales et durables, veuillez lire attentivement etrespecter les instructions du présent manuel d’utilisateur avant d'utiliser votre climatiseur.Reportez-vous au manuel si vous ...
Page 3 - Consignes de sécurité; CONSIGNES DE SÉCURITÉ POUR L’INSTALLATION
– 24 – Consignes de sécurité • Avant de mettre en route le système, veuillez lire attentivement les « Consignes de sécurité » pour le bon fonctionnement de l’appareil. • Les consignes de sécurité ci-après sont classées en « DANGER » et « PRUDENCE ». Les précautions de type « DANGER » indiquent qu’un...
Page 4 - PRÉCAUTIONS POUR LE DÉPLACEMENT OU LES RÉPARATIONS DE L’APPAREIL
– 25 – ❚ Consignes de sécurité PRUDENCE ❚ PRÉCAUTIONS POUR LE DÉPLACEMENT OU LES RÉPARATIONS DE L’APPAREIL DANGER Utilisez un escabeau ou autre objetstable pour atteindre et retirer le pan-neau d’arrivée d’air ou les filtres. Ne posez rien près du dispositif exté-r i e u r e t v e i l l e z à c e q ...
Page 5 - Description des éléments et leurs fonctions; DISPOSITIF INTÉRIEUR; DISPOSITIF EXTÉRIEUR
– 26 – Description des éléments et leurs fonctions DISPOSITIF INTÉRIEUR Filtre à air Filtre les poussières ou salissures de l’air aspiré. Page 39 Panneau d’arrivée d’air Réceptionne l’air intérieur. Page 39 Tuyau d’écoulement Purge l’eau du dispositif intérieur. Louvre de réglage du sens gauche/droi...
Page 6 - Panneau de contrôle
– 27 – Panneau de contrôle Voyant 3D AUTO (vert) Éclairé en mode 3D AUTO. Voyant HI POWER (vert) Éclairé en mode HIGH POWER. Voyant TIMER (jaune) S’allume en mode TIMER. Ce bouton vous permet d’allumer/arrêter l’appareil lorsque vous nepouvez pas le faire à l’aide de la télécommande. Page 28 Récepte...
Page 7 - Remarques concernant l’usage de la télécommande; Panne de la télécommande; Mode d’emploi de la télécommande; Remplacement des piles; L’utilisation du support de boitier de télécommande; Fonction de secours
– 28 – • Est-ce que les piles ne sont pas trop faibles? Voir « Remplacer les piles » ci-dessus. Remplacez les piles usagées par des piles neuves puis répétez la procédure. Remarques concernant l’usage de la télécommande Panne de la télécommande • Si l’appareil ne fonctionne toujours pas, actionnez l...
Page 8 - Réglage de l’heure actuelle; Boutons
– 29 – NOTA 2 Réglage de l’heure actuelle ■ Lorsque vous insérez les piles, l’appareil passe automatiquement en mode de réglage de l’heure.13:00 est affiché comme heure courante. Réglez l’horloge à l’heure exacte. • La minuterie est programmée à partir de l’horloge, veuillez donc régler celle-ci cor...
Page 10 - Réglage de la température de fonctionnement du climatiseur; Particularités du mode de fonctionnement HEAT; Mécanisme et capacité du mode de fonctionnement HEAT
– 31 – Mode de fonctionnement COOL/HEAT/DRY/FAN Réglage de la direction du souffle. Page 32 Pour arrêter: Appuyez sur la touche ON/OFF. • Il peut se produire une temporisation du flux d’air au démarrage duchauffage. Page 42 • Même si le climatiseur est hors service, vous pouvez entrer denouvelles do...
Page 11 - Réglage de l’orientation du flux d’air; Fonctionnement en mode 3D AUTO
– 32 – ( Bascule ) (Stoppé) (Stoppé) (Bascule) Réglage de l’orientation du flux d’air • Lorsque le chauffage est mis en route, le volet et le louvre se mettent en position horizontale/centrale afin d’éviter de souffler de l’air froid, et reviennent leurposition initialement réglée une fois que l’air...
Page 12 - Fonction SLEEP TIMER
– 33 – No indication (cancelled) ... (Units of one hour) ■ Si vous appuyez sur ce bouton lorsque l’appareil est éteint, le mode SLEEP TIMER démarre selon les réglages précédemment effectués, et laclimatisation s’arrête une fois que la minuterie a atteint le temps préréglé. ■ Si vous appuyez sur ce b...
Page 14 - Fonction ALLERGEN CLEAR; Fonction PROGRAM TIMER
– 35 – NOTA Fonction ALLERGEN CLEAR Pointez la télécommande sur le climatiseur. Appuyez sur le bouton ALLERGEN CLEAR. 1 ■ La puissance des enzymes permet d’éliminer les allergènes qui s’accumulent sur le filtrehypoallergénique. Pour arrêter: Appuyez sur le bouton ON/OFFou ALLERGEN CLEAR. • La tempér...
Page 15 - Fonction HIGH POWER/ECONOMY
– 36 – Fonction HIGH POWER/ECONOMY 2 Si le climatiseur n’est pas en fonctionnement, dirigez la télécommande en direction duclimatiseur, puis Appuyez sur le bouton ON/OFF. Appuyez sur le bouton HI POWER/ECONO. • Quand vous êtes en mode AUTO, COOL ou HEATChaque fois que vous appuyez sur le bouton HI P...
Page 16 - Fonction SELF CLEAN; Fonction de redémarrage automatique; Conseils d’utilisation
– 37 – NOTA Fonction SELF CLEAN Pour activer le mode CLEAN, appuyez sur la touche CLEAN àl’aide de la pointe d’un stylo à bille. Chaque fois que vous appuyez sur la touche CLEAN, l’affichage change comme suit : ■ On doit effectuer une opération de CLEAN après un AUTO, COOL et DRY pour déshumidifier ...
Page 17 - Configuration en fonction du lieu d’installation; Configuration du climatiseur et réglage du balayage de l’air.
– 38 – Configuration en fonction du lieu d’installation ■ Prenez en considération le lieu d’installation du climatiseur et réglez le balayage gauche/droite pour maximiser la climatisation. Si le climatiseur fonctionne, appuyez sur le bouton ON/OFFpour l’arrêter. La configuration ne peut pasêtre effe...
Page 18 - Entretien et maintenance; Avant la maintenance; Démontage, installation du panneau d’arrivée d’air; Comment ouvrir et fermer le panneau d’arrivée d’air ?
– 39 – Coupez l’alimentation. Entretien et maintenance Nettoyage du filtre à air. Fréquence standard : une fois tous les 15 jours N’utilisez pas les produits suivants : • De l’eau chaude (40°C et plus)Risque de déformation ou décoloration du dispo-sitif. • Essence, diluant, benzine ou détergent, etc...
Page 19 - A la fin de la saison
– 40 – Objet Fonction Couleur Installation, inspection et remplacement du filtre de nettoyage d’air. 1. Ouvrez le panneau d’entrée d’air et ôtez les filtres à air. 2. Retirez du climatiseur les porte-filtres, avec le filtre de nettoyage d’air en place. 3. Ôtez le filtre hypoallergénique (orange pale...
Page 20 - Procédure d’installation; Faites également attention aux bruits; L’installation convenable; Que faire avant d’appeler l’installateur/le service après-vente
– 41 – Procédure d’installation Faites également attention aux bruits • Quand vous installez l’appareil, choisissez un endroit supportant le poids et qui n’augmente pas le bruit de fonctionnement ou de vibration. Sile bâtiment subit des vibrations, installez des matériaux anti-vibrations entre l’app...
Page 21 - À savoir
– 42 – L’air ne sort pas pendant 5 à 10 minutes où l’air soufflén’est pas chaud alors que l’appareil est en mode HEATING. Voyant RUN clignote lentement (1.5 sec. ON, 0.5 sec OFF) À savoir L’appareil ne redémarre pas immédiatement après qu’il aété éteint. (voyant RUN s’allume) ça ne marche pas L’air ...
Page 22 - Contactez votre revendeur; Climatiseurs multiples; Fonctionnement simultané
– 43 – Contactez votre revendeur ■ Débranchez l’appareil immédiatement et appelez votre distributeur dans les cas suivants: Le fusible ou le disjoncteur sautentsouvent. Le fil électrique est extrêmement chaud.L’enveloppe du fil électrique est détériorée. On remarque un dysfonctionnementde la Télé, d...
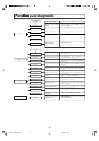
Page 23 - Fonction auto-diagnostic
– 44 – Fonction auto-diagnostic ■ Nous essayons sans cesse d’améliorer nos services de sorte que les anomalies se détectent facilement: • Transistor de puissance endommagé Voyant TIMER allumé Le voyant RUN clignote en continu Voyant RUN allumé Le témoin de fonctionnement RUN clignote 2 fois Clignote...